File:MF Patent Fig6.png
From the Super Mario Wiki, the Mario encyclopedia
Jump to navigationJump to search
Size of this preview: 800 × 545 pixels.
Original file (3,408 × 2,320 pixels, file size: 23 KB, MIME type: image/png)
Summary[edit]
| File information for MF Patent Fig6.png | |
| Info | |
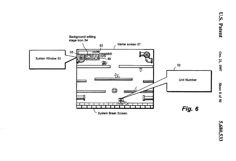
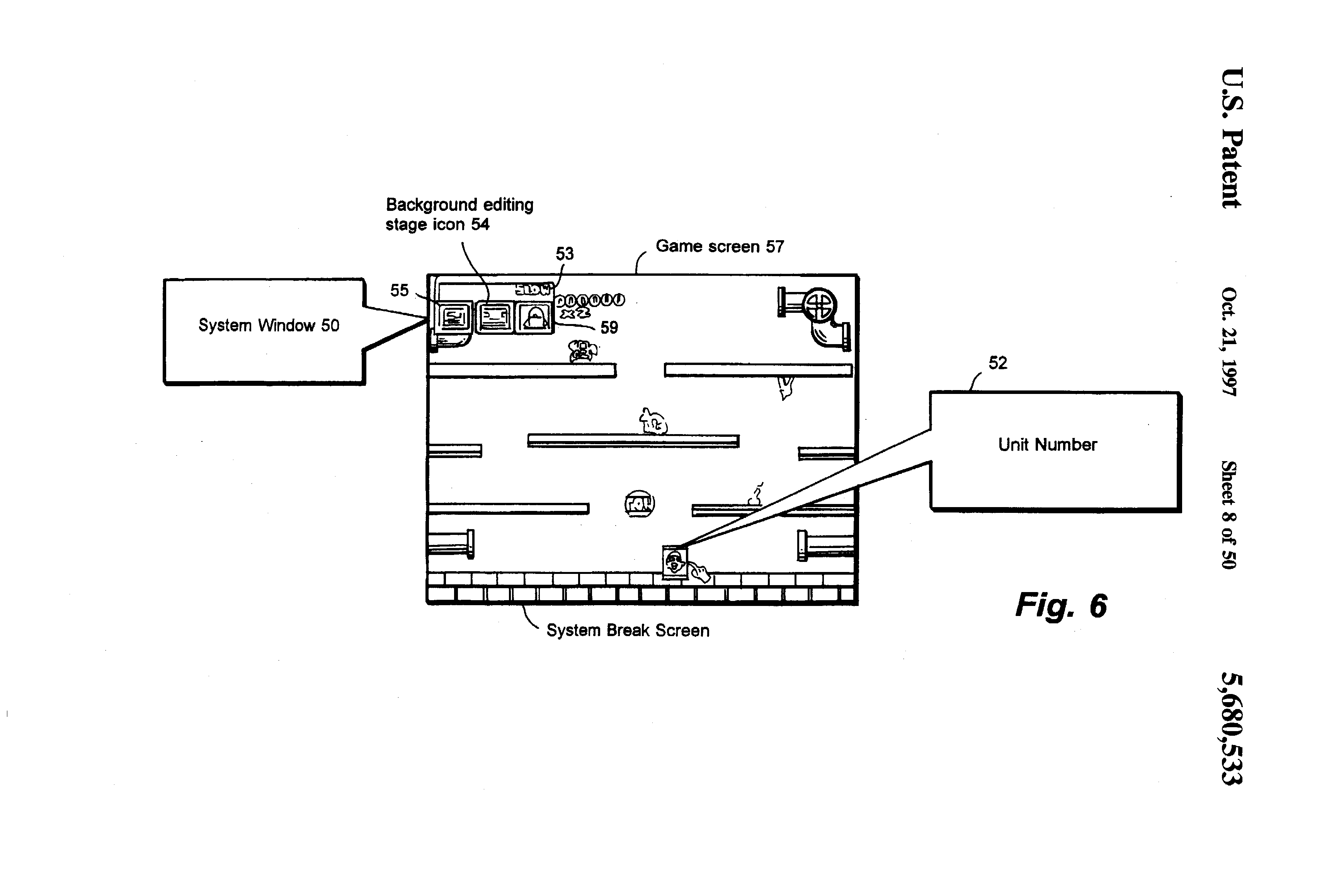
| Description | A figure from one of the patents for Mario Factory. |
| Source | US5680533A - Videographics program/video game fabricating system and method |
| Image help • Image use policy • Media file guidelines | |
Licensing[edit]
Fair use scan |
This is a scan or photo of the interior of a copyrighted book, and the copyright for it is most likely held by the company that published the book. It is believed that the use of a limited number of web-resolution book scans for identification and critical commentary on the book in question or the copyrighted images or text(s) depicted on the book in question qualifies as fair use under United States copyright law, as such display does not significantly impede the right of the copyright holder to sell the copyrighted material, is not being used to turn a profit in this context, and presents ideas that cannot be exhibited otherwise. See Wikipedia:Copyrights and fair use rationale. |
File history
Click on a date/time to view the file as it appeared at that time.
| Date/Time | Thumbnail | Dimensions | User | Comment | |
|---|---|---|---|---|---|
| current | 00:08, April 29, 2025 | 3,408 × 2,320 (23 KB) | Camwoodstock (talk | contribs) | {{aboutfile |1=A figure from one of the patents for ''Mario Factory''. |2=[https://patents.google.com/patent/US5680533A/en US5680533A - Videographics program/video game fabricating system and method] }} Category:Mario Factory images |
You cannot overwrite this file.
File usage
The following page uses this file: